Green Pin® Self Locking Hook SE GR10
Grade 10 swivel self locking hook
Material:
Alloy steel, grade 10, quenched and tempered
Safety Factor:
MBL equals 4 x WLL
Standard:
Follows the EN1677 with grade 10 values and conforms to
ASTM A952/A952M
Finish:
Painted blue
Temperature Range:
-40 °C up to +200 °C
Certification:
2.1 2.2 3.1 MTC a MPI a DGUV CE IIB
Note:
Equiped with thrust needle roller bearings to enable rotation under load
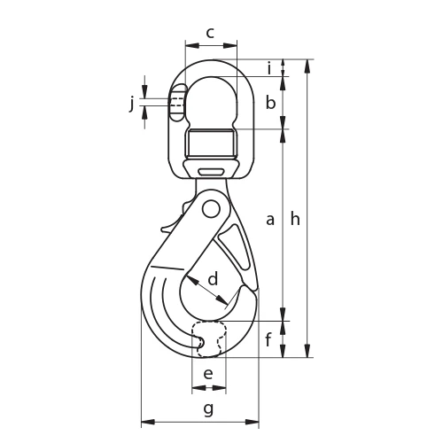
| For chain Diameter mm | Working Load Limit T | Length a (mm) | Length Inside b (mm) | Width Inside c (mm) | Width Opening d (mm) | Thickness e (mm) | Width f (mm) | Width Outside g (mm) | Length h (mm) | Diameter i (mm) | Thickness j (mm) | Weight Each kg |
|---|---|---|---|---|---|---|---|---|---|---|---|---|
| 6 | 1.4 | 123 | 33 | 32 | 32 | 17 | 24 | 75 | 191 | 12 | 6 | 0.78 |
| 7/8 | 2.6 | 149 | 41 | 37 | 43 | 24 | 28 | 91 | 232 | 14 | 8 | 1.39 |
| 10 | 4 | 186 | 47 | 48 | 48 | 32 | 34 | 112 | 283 | 16 | 11 | 2.56 |
| 13 | 6.8 | 214 | 60 | 58 | 63 | 37 | 44 | 141 | 337 | 21 | 14 | 4.56 |
| 16 | 10.3 | 273 | 67 | 73 | 75 | 43 | 56 | 182 | 420 | 25 | 17 | 9.5 |
| 20 | 16 | 304 | 87 | 82 | 90 | 52 | 62 | 205 | 478 | 25 | 22 | 12.4 |
CAD INFO