Green Pin® Wire Rope Clip

Wire rope clip generally to EN 13411-5 Type B

Product code:

G-6240

Material:

Bridge: drop forged high tensile steel SAE 1045

U-bolt: SAE 1015

Standar:

EN 13411-5 Type B

formerly U.S. Federal Specification FF-C-450D

Finish:

hot dipped galvanized
U-bolt and/or nuts for diameter bow 5, 6, 8 and 10 are electro-
galvanized

Certification:

2.1 2.2 CE IIB
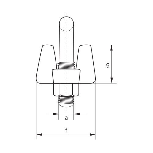
Diameter Wire Rope
(mm)
Diameter
a (mm)
Length Bow
b (mm)
Width Inside
c (mm)
Length Thread
d (mm)
Length Base
e (mm)
Thickness Base
f (mm)
Height Base
g (mm)
Weight Pero 100 pcs
kg
3-452412112421103
563115132924137
6-783419133730188:40
B10452219433319124
9-101149261949422521
111260302558462633.2
12-131361302558483133.1
14-151472333263523145.6
161474333264543645.8
18-201686383772573864.3
221998454180624096.4
24-26191084846886747115
28-30191175151917348127
32-342213059541057956197
362214060591087958206
38-402214766601128564254
41-422516170671219267322
44-462917478701349776418
48-5232195867815011385602
56-58322139881162116100776
62-653222710587168119113862
68-7232243112911741271241015
75-7838271121981941351361272